Home · Register · Join Upload & Sell

Moderated by: Fred Miranda
Username  

  New fredmiranda.com Mobile Site
  New Feature: SMS Notification alert
  New Feature: Buy & Sell Watchlist
  

FM Forums | Sony Forum | Join Upload & Sell

1       2       3              7      
8
       9       10       11       end
  

Sigma 65mm f/2 DG DN Contemporary Review

  
 
philip_pj
Offline
• • • • •
Upload & Sell: On
p.8 #1 · p.8 #1 · Sigma 65mm f/2 DG DN Contemporary Review


Very close indeed.


May 23, 2021 at 08:06 PM
offtraildog
Offline
• • •
Upload & Sell: On
p.8 #2 · p.8 #2 · Sigma 65mm f/2 DG DN Contemporary Review


Owned both and used with the A7R4 and A7C. I prefer the CV lens hood (smooth and short) and overall "feel" in-hand but do not like the external extension of the lens element when focusing. Like the bokeh of the 65i and ergonomics but not a fan of the grooved lens hood and size .. might try an ebay hood. 65i is 8 oz lighter so when paired w/ the A7C so better balance.

I kept the 65i and have no regrets. nice to have two great choices @65mm



May 24, 2021 at 02:04 PM
tsdevine
Online
• • • • •
Upload & Sell: On
p.8 #3 · p.8 #3 · Sigma 65mm f/2 DG DN Contemporary Review



With the recessed front element of the CV 65, I forego the hood. I'm not a huge fan of the ribbed Sigma hood either and having been using it.

offtraildog wrote:
Owned both and used with the A7R4 and A7C. I prefer the CV lens hood (smooth and short) and overall "feel" in-hand but do not like the external extension of the lens element when focusing. Like the bokeh of the 65i and ergonomics but not a fan of the grooved lens hood and size .. might try an ebay hood. 65i is 8 oz lighter so when paired w/ the A7C so better balance.

I kept the 65i and have no regrets. nice to have two great choices @65mm





May 24, 2021 at 02:19 PM
keepcoding
Offline
• • •
Upload & Sell: Off
p.8 #4 · p.8 #4 · Sigma 65mm f/2 DG DN Contemporary Review


Has anyone compared the 65i to the Sony 85mm F1.8 in terms of rendering? I'm considering to replace my 85 with the 65i, mainly for portraits.

I'm also not sure whether 65mm is a good choice since I already have the CV 50/2.



May 31, 2021 at 11:15 AM
Teo Rey
Offline
• •
Upload & Sell: Off
p.8 #5 · p.8 #5 · Sigma 65mm f/2 DG DN Contemporary Review




tbpeur01 wrote:
I’ve been pleasantly surprised by the separation with this lens - I feel like at this distance of a few meters it does a really nice job of isolating the subject while maintaining a clean background (EFCS on if you are curious).


Thank you for specifying that you have EFC-S on here. I'm sure with it off it would look even more beautiful!



May 31, 2021 at 01:12 PM
Patrick Kolb
Online
• •
Upload & Sell: Off
p.8 #6 · p.8 #6 · Sigma 65mm f/2 DG DN Contemporary Review


Maybe not the best image to show the 65mm but it is more than capable.

A7RIV and Sigma 65mm @ f11 and 190sec









Jun 02, 2021 at 01:05 PM
bigtourist
Offline

Upload & Sell: Off
p.8 #7 · p.8 #7 · Sigma 65mm f/2 DG DN Contemporary Review


Anybody on the verge of purchasing this lens may want to put an offer in on Greentoe. 10% off + no tax got accepted today.


Jun 02, 2021 at 01:59 PM
ReleaseDrive
Offline
• •
Upload & Sell: Off
p.8 #8 · p.8 #8 · Sigma 65mm f/2 DG DN Contemporary Review


I'm thinking of picking up the 65mm to replace my former 85mm 1.8. I had that lens twice. Very sharp but I did't like the OOF rendering. Lots of double outlining.

I just need something slightly over 50mm to complete my kit. I figure since the 65mm is so sharp, I could use it on a crop camera as well.



Jun 20, 2021 at 09:56 AM
scalanc2
Offline
• • •
Upload & Sell: Off
p.8 #9 · p.8 #9 · Sigma 65mm f/2 DG DN Contemporary Review


ReleaseDrive wrote:
I'm thinking of picking up the 65mm to replace my former 85mm 1.8. I had that lens twice. Very sharp but I did't like the OOF rendering. Lots of double outlining.

I just need something slightly over 50mm to complete my kit. I figure since the 65mm is so sharp, I could use it on a crop camera as well.


Then your 50mm will take dust.



Jun 20, 2021 at 01:55 PM
QuietOC
Offline
• • •
Upload & Sell: Off
p.8 #10 · p.8 #10 · Sigma 65mm f/2 DG DN Contemporary Review


ReleaseDrive wrote:
I'm thinking of picking up the 65mm to replace my former 85mm 1.8. I had that lens twice. Very sharp but I did't like the OOF rendering. Lots of double outlining.

I just need something slightly over 50mm to complete my kit. I figure since the 65mm is so sharp, I could use it on a crop camera as well.


The Sigma 65 is sharper than the Sony 85 F1.8. It is much more corrected for axial CA. I am liking the OoF, but I haven't compared that directly with the Sony 85 F1.8. I am really liking the images from the Sigma. I think it is a better option than the Sony 55 F1.8 too.



Jun 20, 2021 at 02:40 PM
 


Search in Used Dept. 

Hodie
Offline
• • •
Upload & Sell: Off
p.8 #11 · p.8 #11 · Sigma 65mm f/2 DG DN Contemporary Review


I’ve actually been contemplating switching out the 85 GM for the 65i to have a more compact kit. I have the 100 STF and 135 GM. The 85 GM has been excellent, though, so it isn’t an easy choice.

To be honest, I think I would regret it but after returning the 65i, I keep thinking about how much I liked shooting with it.

Fred Miranda wrote:
I like the lower than average optical vignetting from the 65i so we don't see noticeable cats-eye towards the corners even wide open. In this regard it's similar to the Sony 85/1.4 GM. IMO, they actually have similar rendering + resolution when both at f/2 but to me the Sony wide open's rendering is more pleasant. (More SA)

If you don't need the faster aperture and enjoy shooting at 65mm, the Sigma 65i is a great lens.




Jun 20, 2021 at 03:56 PM
philip_pj
Offline
• • • • •
Upload & Sell: On
p.8 #12 · p.8 #12 · Sigma 65mm f/2 DG DN Contemporary Review


It's highly unlikely a cropped 65/2 can deliver FE 85/1.8 performance on the same sensor. It's lighter too (370g vs 405g) and a tiny bit larger, and has 67mm -vs- 62mm filters, for $150 less. I use mine mostly for distant documentary work, for which it's a scalpel. Have some very nice portraits too, and they crop very well as well to ~100mm. It's not quite as refined but it's still an excellent all round optic.


Jun 20, 2021 at 06:21 PM
Fred Miranda
Offline
Admin
Upload & Sell: On
p.8 #13 · p.8 #13 · Sigma 65mm f/2 DG DN Contemporary Review


Hodie wrote:
I’ve actually been contemplating switching out the 85 GM for the 65i to have a more compact kit. I have the 100 STF and 135 GM. The 85 GM has been excellent, though, so it isn’t an easy choice.

To be honest, I think I would regret it but after returning the 65i, I keep thinking about how much I liked shooting with it.



The FE 85/1.4 is a special lens and I love how it renders. The 65/2i provides a more clinical look in comparison...Similar to what the Batis 135/2.8 does.
The 65/2i is definitely more compact and well corrected...so nothing to complain about but I could not imagine parting with my 85 GM so I ended up with both.
My current set up is 24/1.4, 45/2.8i, 65/2i, 85/1.4 and B135/2.8 but I have a few more MF lenses specialized for landscapes.



Jun 20, 2021 at 07:32 PM
Hodie
Offline
• • •
Upload & Sell: Off
p.8 #14 · p.8 #14 · Sigma 65mm f/2 DG DN Contemporary Review


Yeah, I’m probably not going to sell the GM. Seems a 65i can be had for a good deal, so I’ll add it to the kit eventually.

Fred Miranda wrote:
The FE 85/1.4 is a special lens and I love how it renders. The 65/2i provides a more clinical look in comparison...Similar to what the Batis 135/2.8 does.
The 65/2i is definitely more compact and well corrected...so nothing to complain about but I could not imagine parting with my 85 GM so I ended up with both.
My current set up is 24/1.4, 45/2.8i, 65/2i, 85/1.4 and B135/2.8 but I have a few more MF lenses specialized for landscapes.




Jun 20, 2021 at 09:53 PM
genji
Offline
• • • •
Upload & Sell: Off
p.8 #15 · p.8 #15 · Sigma 65mm f/2 DG DN Contemporary Review


I’m a traditionalist when it comes to street photography, believing that it’s best done with 28mm to 50mm focal lengths. But the 65/2i isn’t too much longer than a 50mm and the additional compression provided by those extra 15mm seems worth exploring.







Jun 21, 2021 at 03:06 AM
olalafoto
Offline
• •
Upload & Sell: Off
p.8 #16 · p.8 #16 · Sigma 65mm f/2 DG DN Contemporary Review


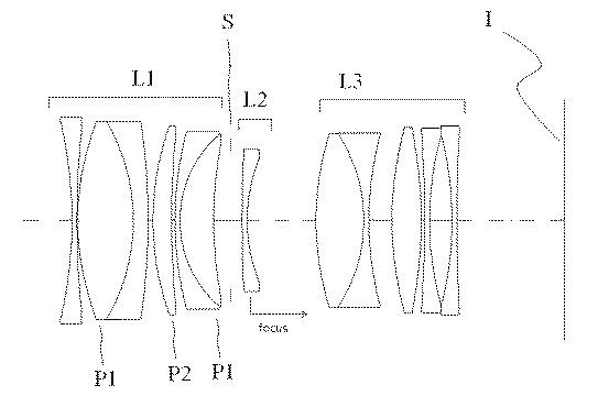
65/2 patent: https://www.j-platpat.inpit.go.jp/p0200






Sep 05, 2021 at 08:51 PM
Tonzah78
Offline
• •
Upload & Sell: Off
p.8 #17 · p.8 #17 · Sigma 65mm f/2 DG DN Contemporary Review


Still one of my favourite lenses. This is my second most used lens that I own (#1 is the CV40/1.2).

Photos from yesterday, outdoors with my kids.


Porkkala on Flickr


Porkkala on Flickr


Porkkala on Flickr


Porkkala on Flickr


Porkkala on Flickr


Porkkala on Flickr


Porkkala on Flickr


Porkkala on Flickr


Porkkala on Flickr


Porkkala on Flickr


Porkkala on Flickr



Sep 20, 2021 at 06:49 AM
Flavourdynamic
Offline
• •
Upload & Sell: Off
p.8 #18 · p.8 #18 · Sigma 65mm f/2 DG DN Contemporary Review


Tonzah78 wrote:
Still one of my favourite lenses. This is my second most used lens that I own (#1 is the CV40/1.2).

Photos from yesterday, outdoors with my kids.

https://live.staticflickr.com/65535/51496187955_856206839f_b.jpg
Porkkala on Flickr

https://live.staticflickr.com/65535/51495264266_978d9b8b3a_b.jpg
Porkkala on Flickr

https://live.staticflickr.com/65535/51494468012_15af8eff7a_b.jpg
Porkkala on Flickr

https://live.staticflickr.com/65535/51495975009_9410e0ba76_b.jpg
Porkkala on Flickr

https://live.staticflickr.com/65535/51496186740_b576df8e2a_b.jpg
Porkkala on Flickr

https://live.staticflickr.com/65535/51495482633_7d92a87aba_b.jpg
Porkkala on Flickr

https://live.staticflickr.com/65535/51495482348_c2cc7dc92c_b.jpg
Porkkala on Flickr

https://live.staticflickr.com/65535/51495482193_6229278e19_b.jpg
Porkkala on Flickr

https://live.staticflickr.com/65535/51495262661_722d4b912d_b.jpg
Porkkala on Flickr

https://live.staticflickr.com/65535/51495972814_e072447d95_b.jpg
Porkkala on Flickr

https://live.staticflickr.com/65535/51495261516_eb07e2dee6_b.jpg
Porkkala on Flickr


Beautiful! How far north is this? Going to Helsinki in a few days -- I guess I should bring a hat



Sep 20, 2021 at 09:13 AM
Tonzah78
Offline
• •
Upload & Sell: Off
p.8 #19 · p.8 #19 · Sigma 65mm f/2 DG DN Contemporary Review


Not that far. South coast actually, next to Helsinki. If you have a rental car available, it's pretty easy to access. We have amazing coastal national parks here, this is one of them. I live only 30 minutes from there. Just PM me if you want suggestions where to go.

Porkkalanniemen rantakalliot
https://maps.app.goo.gl/cnUvxTxh9M7JmWCUA


Flavourdynamic wrote:
Beautiful! How far north is this? Going to Helsinki in a few days -- I guess I should bring a hat




Sep 20, 2021 at 10:59 AM
ReleaseDrive
Offline
• •
Upload & Sell: Off
p.8 #20 · p.8 #20 · Sigma 65mm f/2 DG DN Contemporary Review


I wouldn't mind seeing how this does on crop verses the new 90mm 2.8 on FF. Curious to see if the OOF rendering is largely similar.


Sep 20, 2021 at 11:13 AM
1       2       3              7      
8
       9       10       11       end






FM Forums | Sony Forum | Join Upload & Sell

1       2       3              7      
8
       9       10       11       end
    
 

You are not logged in. Login or Register

Username       Or Reset password



This site is protected by reCAPTCHA and the Google Privacy Policy and Terms of Service apply.